
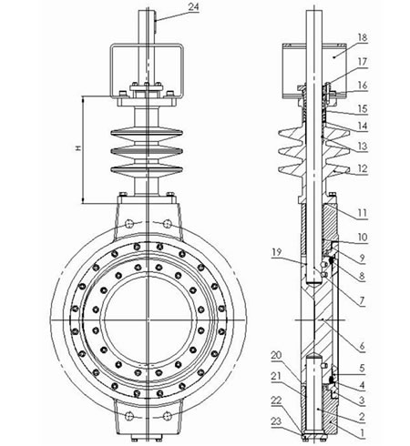
| 1. Body | 13. Bushing |
| 2. Lower Shaft | 14. Packing ring |
| 3. Body Sealing Ring | 15. Packing |
| 4 .Disc Sealing Ring | 16. Packing Gland |
| 5 .Disc Platen | 17 . Packing Platen |
| 6 .Disc | 18 . Yoke |
| 7 .Upper Shaft | 19. Cylindrical Pin |
| 8. Disc Sealing Gasket | 20. Graphite Washer |
| 9. Body Sealing Gasket | 21. Bushing |
| 10 .Bushing | 22. Bottom Cover Sealing Ring |
| 11. Wound Gasket | 23. Bottom Cover |
| 12. Bonnet | 24 . Key |

Design and manufacture standard: API 609, MSS SP-68, BS EN 593 Temperature and pressure rate conform to: ASME B16.34
Low temperature standard: BS 6364, MSS SP-134 Drive flange conform to: BS EN ISO 5211
Connection flange conform to: ASME B16.5, ASME B16.47, ISO 7005, EN 1092
Face to face conform to: API 609, MSS SP-68, ISO 5752, EN 558 Inspection and testing standard conform to: API 598, ISO 5208 Fireproofing test conform to: BS EN ISO 10497, API607, API F6A Valve mark conform to: MSS SP-25
Dissipation discharge test: API 622, API 624, ISO/CD 15848, EPA Method 21
